![]() |

|
|
||||||||||||||||||||||||||||||||||||||||||||||||||||||||||||||||||||||||||||||||||||||||||||||||||||||||||||||||||||||||||||||||||||||||||||||||||||||||||||||||||||||||||||||||||||||||||||||||||||||||||||||||||||||||||||||||||||||||||||||||||||||||||||||||||||||||||||||||||||||||||||||||||||||||||||||||||||||||||||||||||||||||||||||||||||||||||||||||||||||||||||||||||||||||||||||||||||||||||||||||||||||||||||||||||||||||||||||||||||||||||||||||||||||||||||||||||||||||||||||||||||||||||||||||||||||||||||||||||||||||||||||||||||||||||||||||||||||||||
ZW系列自吸無堵塞排污泵

| 產品概述 | ||||||||||||||||||||||||||||||||||||||||||||
|
||||||||||||||||||||||||||||||||||||||||||||
|
||||||||||||||||||||||||||||||||||||||||||||
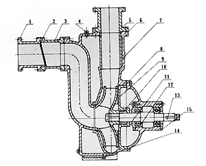
ZW型自吸式排污泵是本廠設計人員根據ZX型自吸離心泵及QW型污水泵的結構及性能,借鑒GN外TL產品之優點,并多方面吸收廣大用戶的使用要求和所提意見,研制而成的集自吸及排污一身,既可象一般清水自吸泵那樣不需安底閥,不需灌引水,又可抽吸含有大顆粒固體體塊、長纖維的污物,沉定物、廢礦雜質、糞便處理及一切工程污水物和膠質液體,完全減輕工人的勞動強度,而且使用、移動、安裝方便,極少維修,性能穩定。
應用范圍
1、環境溫度≤45℃,介質溫度≤60℃
2、介質PH值鑄鐵泵為6-9,不銹鋼泵為1-14。
3、通過顆粒Z大直徑為泵口徑的60%,纖維長度為口徑的5倍。
4、介質中雜質總重量不超過介質總重量的15%,介質比重不超過1240kg/m3
性能參數
| 型號 | 流量 (m 3 /h) |
揚程 (m) |
功率 (kw) |
轉速 (r/min) |
效率 (%) |
汽蝕余量 (m) |
| ZW25-8-15 | 8 | 15 | 1.5 | 2900 | 45 | 2.0 |
| ZW32-5-20 | 5 | 20 | 2.2 | 2900 | 45 | 2.5 |
| ZW32-10-20 | 10 | 20 | 2.2 | 2900 | 45 | 2.5 |
| ZW32-9-30 | 9 | 30 | 3 | 2900 | 48 | 2.5 |
| ZW40-10-20 | 10 | 20 | 2.2 | 2900 | 45 | 2.5 |
| ZW40-20-15 | 20 | 15 | 2.2 | 2900 | 45 | 2.5 |
| ZW40-15-30 | 15 | 30 | 3 | 2900 | 48 | 2.5 |
| ZW50-10-20 | 10 | 20 | 2.2 | 2900 | 45 | 2.5 |
| ZW50-20-12 | 20 | 12 | 2.2 | 2900 | 45 | 2.5 |
| ZW50-15-30 | 15 | 30 | 3 | 2900 | 48 | 2.5 |
| ZW50-20-35 | 20 | 35 | 7.5 | 2900 | 48 | 2.5 |
| ZW65-30-18 | 30 | 18 | 4 | 2900 | 45 | 2.5 |
| ZW65-25-30 | 25 | 30 | 5.5 | 2900 | 50 | 3.0 |
| ZW65-25-40 | 25 | 40 | 7.5 | 2900 | 50 | 3.0 |
| ZW65-40-25 | 40 | 25 | 7.5 | 2900 | 50 | 3.0 |
| ZW65-65-25 | 65 | 25 | 7.5 | 2900 | 52 | 3.0 |
| ZW80-40-16 | 40 | 16 | 4 | 1450 | 50 | 3.0 |
| ZW80-40-25 | 40 | 25 | 7.5 | 2900 | 50 | 3.0 |
| ZW80-25-40 | 25 | 40 | 7.5 | 2900 | 50 | 3.0 |
| ZW80-65-25 | 65 | 25 | 7.5 | 2900 | 52 | 3.0 |
| ZW80-80-35 | 80 | 35 | 15 | 1450 | 45 | 3.0 |
| ZW80-40-50 | 40 | 50 | 18.5 | 2900 | 50 | 3.0 |
| ZW80-50-60 | 50 | 60 | 22 | 1450 | 55 | 3.0 |
| ZW100-100-15 | 100 | 15 | 7.5 | 1450 | 50 | 4.0 |
| ZW100-80-20 | 80 | 20 | 7.5 | 1450 | 53 | 4.0 |
| ZW100-100-20 | 100 | 20 | 11 | 1450 | 53 | 4.0 |
| ZW100-100-30 | 100 | 30 | 22 | 2900 | 53 | 4.0 |
| ZW100-80-45 | 80 | 45 | 37 | 2900 | 55 | 4.0 |
| ZW100-80-60 | 80 | 60 | 37 | 2900 | 53 | 4.0 |
| ZW100-80-80 | 80 | 80 | 45 | 2900 | 50 | 4.0 |
| ZW125-120-20 | 120 | 20 | 15 | 2900 | 55 | 4.5 |
| ZW150-180-14 | 180 | 14 | 15 | 1450 | 60 | 5.0 |
| ZW150-180-20 | 180 | 20 | 22 | 1450 | 60 | 5.0 |
| ZW150-180-30 | 180 | 30 | 37 | 1450 | 65 | 5.0 |
| ZW150-180-38 | 180 | 38 | 55 | 1450 | 45 | 5.0 |
| ZW200-280-14 | 280 | 14 | 22 | 1450 | 65 | 5.0 |
| ZW200-280-20 | 280 | 20 | 37 | 1450 | 62 | 5.0 |
| ZW200-300-25 | 300 |
25 |
45 | 1450 | 59 | 5.0 |
| ZW200-280-28 | 280 | 28 | 55 | 1450 | 55 | 4.8 |
| ZW250-420-20 | 420 | 20 | 55 | 1450 | 61 | 6.0 |
| ZW300-800-14 | 800 | 14 | 55 | 1450 | 65 | 6.0 |
以下為一代ZW自吸無堵塞排污泵的參數:
| 型號規格 | 流量 m³/h |
揚程 m |
電機 功率 KW |
轉速 r/min |
| 25ZW8-15 | 8 | 15 | 1.5 | 2900 |
| 32ZW10-20 | 10 | 20 | 2.2 | 2900 |
| 32ZW20-12 | 20 | 12 | 2.2 | 2900 |
| 32ZW9-30 | 9 | 30 | 3 | 2900 |
| 40ZW20-12 | 20 | 12 | 2.2 | 2900 |
| 40ZW10-20 | 10 | 20 | 2.2 | 2900 |
| 40ZW15-30 | 15 | 30 | 3 | 2900 |
| 50ZW10-20 | 10 | 20 | 2.2 | 2900 |
| 50ZW20-12 | 20 | 12 | 2.2 | 2900 |
| 50ZW15-30 | 15 | 30 | 3 | 2900 |
| 65ZW30-18 | 30 | 18 | 4 | 1450 |
| 65ZW20-30 | 20 | 30 | 5.5 | 2900 |
| 65ZW15-30 | 15 | 30 | 3 | 2900 |
| 65ZW20-14 | 20 | 14 | 2.2 | 2900 |
| 65ZW25-40 | 25 | 40 | 7.5 | 2900 |
| 65ZW30-50 | 30 | 50 | 15 | 2900 |
| 80ZW40-16 | 40 | 16 | 4 | 1450 |
| 80ZW40-50 | 40 | 50 | 18.5 | 2900 |
| 80ZW65-25 | 65 | 25 | 7.5 | 2900 |
| 80ZW80-35 | 80 | 35 | 15 | 2900 |
| 80ZW50-60 | 50 | 60 | 22 | 2900 |
| 100ZW100-15 | 100 | 15 | 7.5 | 1450 |
| 100ZW80-20 | 80 | 20 | 7.5 | 1450 |
| 100ZW100-20 | 100 | 20 | 11 | 1450 |
| 100ZW100-30 | 100 | 30 | 22 | 2900 |
| 100ZW80-60 | 80 | 60 | 37 | 2900 |
| 100ZW80-80 | 80 | 80 | 45 | 2900 |
| 125ZW120-20 | 120 | 20 | 15 | 1450 |
| 150ZW200-15 | 200 | 15 | 15 | 1450 |
| 150ZW180-20 | 180 | 20 | 22 | 1450 |
| 150ZW250-25 | 250 | 25 | 45 | 2900 |
| 200ZW280-14 | 280 | 14 | 22 | 1450 |
| 200ZW300-18 | 300 | 18 | 37 | 1450 |
| 200ZW280-28 | 280 | 28 | 55 | 1450 |
| 250ZW420-20 | 420 | 20 | 55 | 1450 |
| 300ZW800-14 | 800 | 14 | 55 | 1450 |
